The Yazidi mausoleums of Sinjar

The Sinjar Mountains is a mid-altitude mountain range which culminates at 1,462 metres, to the south of which is the town of Sinjar, located at 36°18’51.18″N 41°51’44.79″E, and 508 metres altitude in the province of Nineveh.

The Sinjar mountain range is an important territory for the Yazidi population. According to popular belief, God created Mount Sinjar with a mausoleum on each of its summits so the mountain could remain stable. The location of these Yazidi mausoleums in these isolated areas is explained historically, not only due to the need for security but also for the ascetic lifestyle of the first Yazidi “saints”.

Some of the Yazidi mausoleums in Sinjar were destroyed by ISIS in 2014 and 2015.


Pic: Yazidi mausoleum of Sheikh Charaf Al-Dîn in the Sinjar mountains © Dr. Birgül Açıkyıldız-Şengül, universities of Oxford and Montpellier III.

About this file

The content of this file has been drafted by Dr. Birgül Açıkyıldız-Şengül, art historian, specialised in Yazidi heritage and culture. Dr. Birgül Açıkyıldız-Şengül is an associate researcher at the University Paul Valéry Montpellier III and the IFEA Istanbul, and is the author of a doctoral thesis: “Yazidi heritage: Funeral architecture and sculptures in Iraq, Turkey and Armenia” presented in 2006 at the University Paris I Panthéon-Sorbonne (department of Islamic art and archaeology). This thesis contains a documented inventory of 88 monuments (sanctuaries, mausoleums, baptistries, oratories, caravanserai, bridges and caves) and 60 funeral sculptures (in the shape of horses, rams, sheep or lions) in northern Iraq, Turkey and Armenia.  Thesis published by I.B.Tauris (London, New York), 2010. The text has been enriched with the observations and interviews of the Mesopotamia team (Pascal Maguesyan, Shahad al Khouri, Sibylle Delaître (KTO)) with support from Mero Khudeada.

Location

The Sinjar Mountains is a mid-altitude mountain range which culminates at 1,462 metres, to the south of which is the town of Sinjar, located at 36°18’51.18″N 41°51’44.79″E, and 508 metres altitude in the province of Nineveh. The Sinjar mountain range is an important territory for the Yazidi people, located on the Iraqi-Syrian border in the middle of the Jazira plateau. It is a mountainous region where the sedentary plains are bordered to the north and east where the majority of Yazidi villages are located.

 

Map of the Sinjar mountains (according to Fuccaro 1999, xiv)
Dr. Birgül Açıkyıldız-Şengül, universities of Oxford and Montpellier III

About the Yazidi in Iraq

Mainly settled in the autonomous region of Iraqi Kurdistan and the Nineveh plain, their geographic birthplace, there are also Yazidi in Turkey, Syria, and the Caucasus in particular in Armenia and Georgia. Generally considered as non-Islamic Kurds, which is at the very a least a simplistic if not inaccurate statement given their mythological origins, often demonised due to their religious practices, the Yazidi are a community whose historical origins and number are difficult to estimate.

Yazidi family in Lalish.
June 2018 © Pascal Maguesyan / MESOPOTAMIA

The territorial roots of Yazidism

Yazidism was founded in a mountainous territory where its inhabitants were protected by the slopes, peaks and caves. Considered sacred by the Yazidi, this territory roughly divides into two distinct regions, east and west of the Tigris, the key Mesopotamian river. To the west is Sinjar: the city, surrounding villages and the mountain range. To the east is the spiritual centre of Lalish, and the key sectors of Shekhan, Bozan, Bashiqa and Bahzani. The vast majority of the Yazidi population (including clergy) are from these regions although their are some scattered Yazidi communities outside of these areas.

For centuries, the Yazidi have preserved their customs and traditions in this region, this territory. This preservation of the past was cruelly undermined to the west of the Tigris in the Sinjar region by the devastating ISIS offensive in August 2014. The extent of the destruction and severity of the genocidal crimes committed severely weakened the Yazidi communities in the Sinjar mountains who previously formed the core of the Iraqi Yazidi population.

Yazidi from High Djezireh.
© Mosul collection of the Dominican Mission to Mesopotamia, Kurdistan and Armenia. Inventory Mosul IV - Series Z 39-57. Archives from the Saulchoir Library (French Dominican province)
Yazidi from High Djezireh.
© Mosul collection of the Dominican Mission to Mesopotamia, Kurdistan and Armenia. Inventory Mosul IV - Series Z 39-57. Archives from the Saulchoir Library (French Dominican province)

Sources of the Yazidi presence in Sinjar

The mountain characteristics of Sinjar provided the ideal shelter for the Yazidi who fled Sheikhan when the atabeg of Mosul, Badr al-Din Lu’lu’, began to massacre them in the 13th century. His hostile attitude to the Yazidi is well documented. Fearing that the Kurds would rise up against him, Badr al-Din Lu’lu’ murdered Sheikh Hasan in 1254 and eliminated his followers.

The sanctuary of Sheikh Sharaf al-Din Muhammad (who died in 1256) became a popular pilgrimage site in Sinjar. Since this time, large numbers of pilgrims have flocked to the region, contributing over the centuries to the spread of Yazidism in the area.

The Ottomans also carried out punitive expeditions against the Yazidi in Sheikhan, and as of the 17th century this meant Sinjar became the main bastion of Yazidi resistance and spirituality, refusing conscription and the payment of taxes for centuries.

Almost all the Yazidi funeral buildings in the Sinjar province are located in isolated areas and in the deepest countryside, cut off from the modern world, usually on mountaintops.  According to popular belief, God created Mount Sinjar with a mausoleum on each of its summits so the mountain could remain stable. The location of these Yazidi mausoleums in these isolated areas is explained historically, not only due to the need for security but also for the ascetic lifestyle of the first Yazidi “saints”.

Map of the Yazidi regions, towns and villages in the north of Iraq and Iraqi Kurdistan. The Sinjar mountain range is shown in blue
Dr. Birgül Açıkyıldız-Şengül, universities of Oxford and Montpellier III

Development of the Yazidi presence in Sinjar

Unfortunately, most of the Yazidi villages in Sinjar were destroyed by the Baath regime in the 1970s. The inhabitants were forced into collective villages (mujamma’at) in the Beled Sinjar plain, leaving the mausoleums of their saints behind in their mountain villages, although they were able to take care of them during festival periods.

Marginalized to the extreme in Iraq, the very existence of the Yazidi was almost denied. Prior to the fall of Saddam Hussein in 2003, Baghdad officially only recognised a few thousand whereas in reality there were no doubt closer to hundreds of thousands!

The conditions for an attempted genocide were already in place even before the ISIS jihadis started to massacre and kidnap Yazidi in the Sinjar mountains in August 2014. Although Sinjar was liberated in November 2015, the majority of the 500,000 – 600,000 Iraqi Yazidi are still displaced. The persecution they have suffered makes them fear for the future despite the constitutional guarantees afforded to them in 2005.

Portrait of a Yazidi displaced from Sinjar.
Juin 2018 © Pascal Maguesyan / MESOPOTAMIA

Territory, history and heritage

It is in this region, either side of the Tigris, that the Yazidi were able to preserve and develop the characteristic architectural features of their religious buildings.

These buildings are mostly dedicated to the first disciples of the 12th century Yazidi reformer, Sheikh ‘Adî, members of the Chamsani families and families such as Hasan Maman, Memê Rech and Cerwan, as well as the community’s first religious leaders, descendents of Sheikh ‘Adî (members of the Adani family) and certain important Sufi mystics who influenced Sheikh ‘Adî’s teachings, namely Abd al-Qadîr al-Jilani, al-Hallaj et Qedib al-Ban (Qadî Bilban).

However, it would be wrong to conclude that Yazidism is a medieval religion. The paucity of the theological and historical sources available is compensated for by the ancient tradition and mythology which are omnipresent and constantly developing. The Yazidi see Noah as one of their most ancient and most illustrious patriarchs. They even claim that he lived in Iraqi Mesopotamia, in Ain Sifni (Shekhan) where he built his ark. The Yazidi historians claim that “the Yazidi religion is very ancient. It goes back to 3,500 years BC.”[1]

The Yazidi have a wide diversity of places of worship and prayer, including cemeteries, mausoleums (mazar) some of which are larger than others (khas / mêr), fire oratories (nîshan), the houses of Sheikh or Pîr, trees, bushes, olive groves, bridges, arches, caves, sacred stones (kevir), springs etc. These monuments, structure and sites dedicated to the Yazidi “saints” constitute a large proportion of the cultural setting of the Yazidi communities and are the tangible, physical manifestation of the Yazidi belief system as a whole.

There is however, one fundamental place which all Yazidi turn to, including the diaspora: the Lalish valley in Iraqi Kurdistan. It is the most sacred place in Yazidism. It is the location of the sanctuary of Sheikh ‘Adî, the great reformer of Yazidism in the 12th century.  This valley, its mausoleums and its environment are the centre of gravity of Yazidi spiritual life.

The Yazidi buildings were built at different times. The lack of inscriptions and historical sources make it difficult to date them accurately. The poor quality of some of the more recent restorations makes this analysis even more complex. Furthermore, there do not seem to be specific architectural styles associated with specific periods of Yazidi history which could help to date these buildings. In addition, the same style, derived from a specific model has been used at several times over the centuries and is still in vogue.

_______

[1] Chamo Kassem, inspector of Yazidi schools, specialist in Yazidi religion and culture, Head of Culture and Media, at the Lalish Cultural and Social Centre in Dohuk-Nohadra.

Sketches of the Lalish sanctuary, viewed from the south.
© in "The Nestorians and their rituals", Rev. George Percy Badger, London, Joseph Masters, 1852
Sketches of the perimeter wall of the Lalish sanctuary.
© in "The Nestorians and their rituals", Rev. George Percy Badger, London, Joseph Masters, 1852
Sketches of the entrance door to the Lalish sanctuary.
© in "The Nestorians and their rituals", Rev. George Percy Badger, London, Joseph Masters, 1852

Fragments of Yazidi spirituality and theology

Yazidism is a religion based on tradition and oral history that is both simple and complex at the same time. Simple, because it is not regulated by a constraining liturgy or dogma. Complex, because there is no fundamental theological document underpinning it such as the Torah, the Gospels or the Koran. The Yazidi have two sacred books: the book of revelation “Kitêb-i Cilvê “, and the black book “Mishefa Reş”.

Yazidism is a strictly community-based religion (national). One is born Yazidi, you cannot become Yazidi. There is no evangelizing, inculturation or proselytizing.  That said, Yazidism is not sectarian. Quite the opposite, altruism is considered to be a cardinal virtue, a spiritual and theological foundation. Any researchers interested in studying Yazidism are therefore warmly welcomed by the community and its clergy.[1]

Yazidism is a monotheism. God is singular and unique. He is the creator of the cosmos and of life. In this, Yazidism shares the same belief as the three main monotheist religions: Judaism, Christianity and Islam.  As well as Zoroastrianism.[2]

God is light. He is like the sun which shines on the Earth. That is why the Yazidi systematically face the sun to pray. This is something Yazidism shares with Mesopotamian and Persian Zoroastrianism.

God is good, infinitely good. This is why the Yazidi encourage altruism and always pray firstly for the world and then for themselves.

God is everything and is everywhere. Yazidism is physically and spiritually one with the whole of Creation: cosmic, human, animal, vegetal, and mineral. That is why olive trees whose oil is used for the sacred fire are considered sacred by the Yazidi. Similarly, the angel peacock (tawûsê melek) is the most important of the seven angels (melek) which represent God on earth.

Yazidism believes in the judgement of souls and the last judgement. However, it differs from Christianity in its belief in reincarnation. The dead are buried. Their souls are judged according to the good and evil they have done. Pure souls become beings of light. Impure souls are reincarnated in devalued or bellicose human or animal forms.

_______

[1]  “Jean-Paul Roux, who passed away in 2009, former CNRS researcher and head of the Islamic art section of the École du Louvre, considered Yazidism as “a standout religion, an obvious syncretism of popular tradition and reminiscences of the dogma of the major religions’’. La Croix, Claire Lesegretain, 26 April 2010.

[2] Born in Persia, founded by Zarathustra (Zoroaster) in the first millenium Before Christ, Zoroastrianism is monotheist and recognises Ahura Mazdâ as the only God. In this sense Zoroastrianism is fundamentally different from the Mazdaism it is derived from. Mazdaism  is polytheist, considering Ahura Mazdâ as the main, but not the only, God.  This Persian religion spread as far as India in the form of Vedism.

The bridge of souls in the Lalish spiritual centre.
Juin 2018 © Pascal Maguesyan / MESOPOTAMIA

Yazidi worship

Yazidi worship is not governed by a strict liturgy but constitutes a set of traditional rites and votive practices passed on orally from generation to generation.

The Yazidi generally pray individually, but also gather together as a community at their temples and sanctuaries to listen to qawals, who are both musicians and the gatekeepers and guardians of the Yazidi religion, whose knowledge and practices are passed on from father to son.

The daily prayer, facing the sun, the light of God (Khoda), is not an obligation nor is it required to show you are a “good” Yazidi. However, pious, elderly people pray regularly, up to five times a day.

Kissing sacred places and the hands of saintly figures, offering gifts to consecrated persons, sacrificing animals, knotting and unknotting fabric on wish trees, are all signs of respect and devotion.

Wednesday is the most important day in the week. It is like Sunday for Christians, Saturday for Jews and Friday for Muslims. The main weekly services during which the Yazidi monks light the sacred fire in the mausoleums are held on Wednesdays.

Four major annual festivals are held during the Yazidi religious year. The first is the New Year (ser sal) celebrated on the first Wednesday of the month of April. This festival symbolises the creation of life out of the initial chaos and the coming of tawûsê melek. Eggs, a symbol of the original lifeless earth, are boiled and dyed as part of the celebrations. Some of these eggs are smashed above the doors of houses and mausoleums, mixed in with small red flowers.

Another major annual festival is the Spring festival (towaf), which is held on a date between 12th – 20th April. Finally, the pilgrimage to the tomb of Sheikh Adî, in the Lalish sanctuary (djamaiya) takes place on 6th October.

 

Wish trees at the Lalish spiritual centre.
Juin 2018 © Pascal Maguesyan / MESOPOTAMIA

The mausoleum with a conical dome: characteristic Yazidi architecture

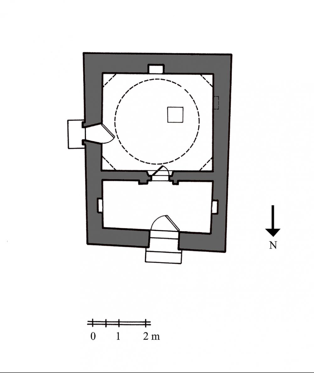
Mausoleums with a conical, striped dome are emblematic of Yazidi sacred art. Extremely sober in terms of its architecture and decoration, this type of building is built on a cube structure which contains the tomb or cenotaph, covered by a slab with a drum, above which stands a conical dome composed of multiple crests. This vault symbolises the sun’s rays which light up the earth and humanity.

The pinnacle of the dome is systematically fitted with a bronze spire formed of one or more spheres, mounted with a ring, a crescent moon, and a celestial body or hand, around which swathes of coloured fabric are knotted.  The spire represents the cosmos, the planets, the sun and the stars created by God.  The coloured fabrics represented the colours of the rainbow. [1]

The interior of a Yazidi mausoleum is often composed of a separate chamber containing a sarcophage covered in silk fabrics. There are also often several niches carved into the walls to burn incense and light the sacred fire. These often also contain knotted fabrics placed there by pilgrims making wishes.

The sacred space in any Yazidi mausoleum includes the slab in front and around it. That is why any visitor or pilgrim must remove their shoes.

_______

[1] This interpretation can vary from one community to another.

Plan of the Yazidi mausoleum of Sheikh Shams with conical dome in the Sinjar mountains.
Dr. Birgül Açıkyıldız-Şengül, universities of Oxford and Montpellier III

The Yazidi mausoleums of Sinjar

Some of the Yazidi mausoleums in Sinjar were destroyed by ISIS. It is more than likely that they will be rebuilt when the Yazidi return to their villages, as has been the case in the Nineveh plain in Bashiqa and Bahzani (see files).

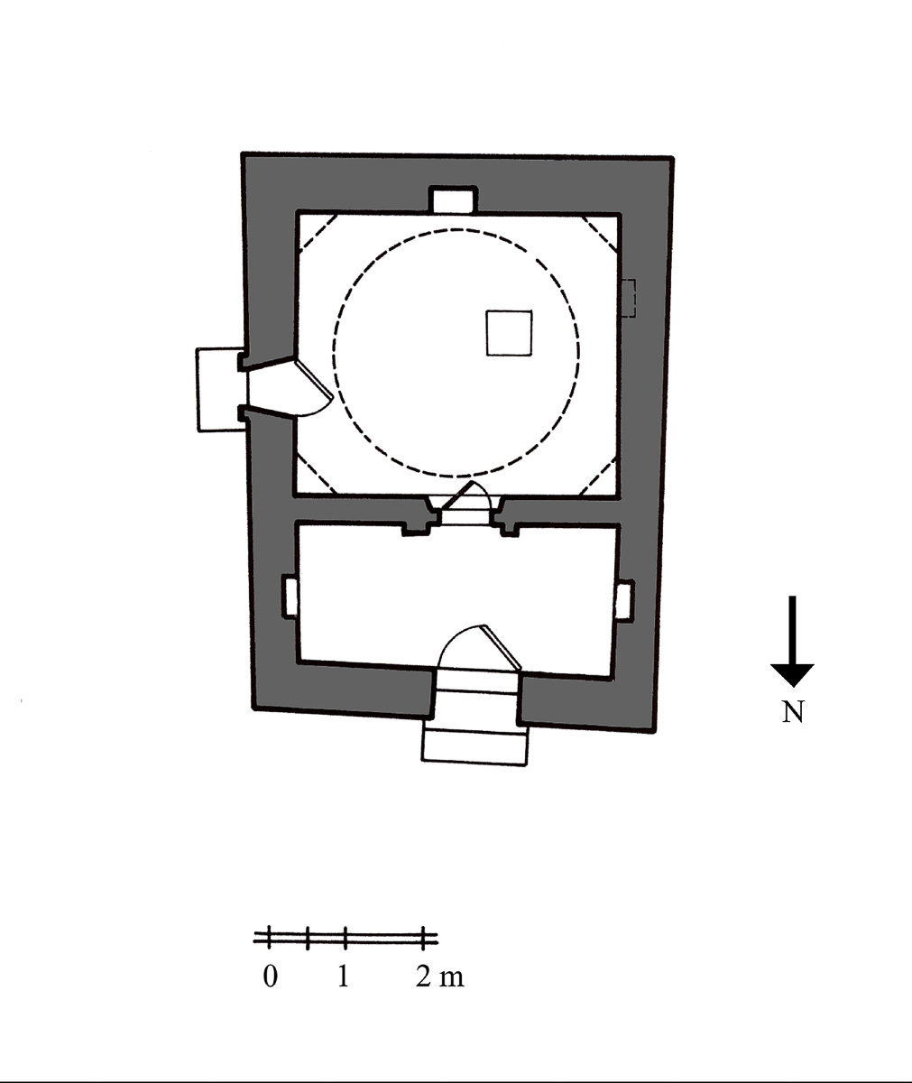
The mausoleum of Sheikh Amâdîn (‘Imâd al-Dîn). The mausoleum is found at the summit of the Galê Bîrîn mountain, to the south of Beled Sinjar. A cemetery belonging to the inhabitants of the village of Mehirkan surrounds the mausoleum. The Haskan and Mehirka tribes regularly visit the mausoleum. There is a small building with a square floor plan to the east of the mausoleum which is used to store the sacred bread for the pilgrims. According to the inscription, the mausoleum dates from 1400. Sheikh Amâdîn is the son of Xatûna Feqra who lived in the 13th century. He is also the grandson of Sheikh Fexr al-Dîn and the nephew of Sheikh Mand. According to Yazidi beliefs, this mausoleum heals stomach pain.

The mausoleum is rectangular and faces north to south. It is composed of two sections. The antechamber to the east can be accessed by a lowered door in the north wall.  The antechamber is oriented from east to west and measures 4.2 x 1.9 metres. The east and west walls both contain niches. The ceiling is flat. The main section is overlooked by a dome. From the outside it is conical and has 32 segments. The room is rectangular, its dimensions are 4.3 x 3.6 metres. The wall has a side door leading outside. There is a niche in the middle of the south wall and a “stûna mîrza” pillar in the middle of the sapce, close to the south and west walls.  Two serpents, shown face to face, are represented on the murals of the two doors. Visitors embrace the stûna mîrzacolumn with both arms and make a wish. If their two hands touch, the wish will come true.

The mausoleum of Sheikh Hasan. This mausoleum is found in the village of Gabbara to the west of Sinjar. The Allaca, Chelka Gorgorka and Hababa tribes visit it regularly. An illegible inscription on the south wall of the antechamber bears the name of Sheikh Hasan Azat … Adî and the year 1325. His authentic name is al-Hasan b. ‘Adî b. Abî ‘l-Barakât b. Chakhr b. Musâfir Chams al-Dîn Abû Muhammad (1196-1249 or 1197-1254). He is the most famous of the Yazidi spiritual leaders after Sheikh Adî. He was murdered by Badr al-Dîn Lu’lu’ who feared a Kurdish uprising against him in 1254. Sheikh Hasan is also identified as one of the seven Yazidi angels, Derda’îl.

The building is composed of the main section and the antechamber. A rectangular door in the west wall provides access to the interior of the antechamber. The antechamber has a square floor plan measuring 3.1 x 3.1 metres.  The ceiling is flat. The north and east walls each have a large window. A second rectangular wall leads to the main section via the south wall.

The main section also has a square floor plan. Its dimensions are 3.2 x 3.2 metres. The east and west walls contain two elevated rectangular niches. The relics are kept in a location behind the south wall. There are no openings inside to let in light. The room is mounted with a dome. It is a conical dome with 24 segments on the outside.

The mausoleum of Sheikh Charaf al-Dîn. The mausoleum is located in the village of Rachîdiyyah in Sinjar. It is situated in the middle of a courtyard. It is reached via a gate overlooked by a conical multi-segmented dome. The mausoleum and courtyard are surrounded by a small cemetery. There are two oratories to the south of the mausoleum. An important ceremony takes place here on 15th August, organised by the Xaltî tribe, which the Bekira, Geychka and Xaltî tribes take part in.

The founding inscription on the mausoleum of Charaf al-Dîn references the year 1274 AD. It was restored by two brothers al Cheikh Ilyas al-Cheikh Behrî and al Chekh Ismaîl al-Cheikh Behrî, guardians of the mausoleum, with the cooperation of the Bekran and Mehîrkan tribes and the martyr Derwich Murad.

Sheikh Charaf al-Dîn is part of the eponymous subdivision of the Sheikhs of Adanî. He is the son of Sheikh Hasan. According to the tradition, it was thanks to him that the Ciwanî tribe of Sinjar converted to Yazidism. His position in Sinjar is comparable to that of Sheikh Adi.

From the exterior, the mausoleum has a rectangular floor plan and is oriented from east to west. It is made up of two parts: the main section and the antechamber. The antechamber is situated to the north and has a rectangular floor plan. Its dimensions are 7.1 x 4.1 metres. A rectangular door in the north wall provides access to the interior. Two large windows are located in the north wall, either side of the door. The west and east walls each have a large window. The ceiling of the antechamber is flat. Several framed photos of men from the same family are hung on the interior walls.

The main section is accessed via a rectangular door positioned in the middle of the south wall. It is square shaped and measures 5.4 x 5.4 metres. The wall also contains a second additional door in the south part. The room is mounted with a conical 40-segment dome on the outside, placed on a three-level drum. There are three windows in the east wall and three further windows in the west wall allowing light into the building. There is a one-metre high column, the stûna mîrza,in the middle of the room.  There are multi-coloured fabrics hanging from the walls.

The mausoleum of Hajalî (Pîr Hecî Alî). The mausoleum is located in the village of Hassina, at the foot of a mountain in Sinjar, which was entirely destroyed. This mausoleum is frequented by the Mala Xaltî tribe. Professor Philip G. Kreyenbroek believes that Hajalî (Pîr Hecî Alî) was a disciple of the great Yazidi reformer Sheikh ‘Adî. When Sheikh Adi came from Ba’albek, his home town, he stayed at the house of Pîr Hecî Alî. His mausoleum was built during the 12th century.

The building is composed of two floors. The main section is on the first floor. There is a large terrace surrounding the museum to the north and the west. The terrace is reached by the staircase to the east. A slightly broken gate in the middle of the north wall leads inside. There are two successive semi-circular arches towards the door.  The door is rectangular.

The main room has a square floor plan measuring 2.7 x 2.7 metres and has thick walls 1.5 metres wide. It is mounted with a dome. From the exterior this is conical in shape with multiple segments composed of 24 sections. The lower floors is made up of two rooms. The entrance takes the form of a small door to the north. The first room is a small, rectangular-shaped antechamber.  This is followed by a square room. There are no openings anywhere in the building. The lower floor is dedicated to the “treatment” of mental illnesses. Popular belief has it that if people with mental health issues spend a night here, they will leave the next day completely cured.

The mausoleum of Memê Rech. The building stands on a hill in the village of Tappa, to the east of Sinjar. It is visited by the Delka and Hababa tribes. Memê Resh (Mem Rechan / Mehmed Rechan) was the leader of the disciples of Sheikh ‘Adî. He lived in the 12th century. His descendants are the families of Pîrs, Pîr Afat, Pîr Buwal and Pîr Derbês.  He is considered to be the lord of the rain and the protector of the harvest. A festival is celebrated in his name in the spring. His mausoleum was no doubt built in the 12th century.

The mausoleum forms an irregular square shape. Its dimensions are 2.1 x 2.2 metres. It is accessed via a rectangular door in the north wall. It is crowned with a dome. The south wall contains two rectangular niches where wicks are burned. There is a one-metre high column, the stûna mîrza, in the middle of the room. The dome is conical with 28 segments. It stands on a two-level drum: one octagonal level and one circular.

Yazidi mausoleum of Sheikh Amadîn in the Sinjar mountains.
Dr. Birgül Açıkyıldız-Şengül, universities of Oxford and Montpellier III
Plan of the Yazidi mausoleum of Sheikh Amadîn in the Sinjar mountains.
Dr. Birgül Açıkyıldız-Şengül, universities of Oxford and Montpellier III
Interior of the Yazidi mausoleum of Sheikh Amadîn in the Sinjar mountains.
Dr. Birgül Açıkyıldız-Şengül, universities of Oxford and Montpellier III
Yazidi mausoleum of Sheikh Hasan in the Sinjar mountains.
Dr. Birgül Açıkyıldız-Şengül, universities of Oxford and Montpellier III
Yazidi mausoleum of Sheikh Charaf Al-Dîn in the Sinjar mountains.
Dr. Birgül Açıkyıldız-Şengül, universities of Oxford and Montpellier III
Yazidi mausoleum of Hajalî in the Sinjar mountains.
Dr. Birgül Açıkyıldız-Şengül, universities of Oxford and Montpellier III
Yazidi mausoleum of Memê Rech in the Sinjar mountains.
Dr. Birgül Açıkyıldız-Şengül, universities of Oxford and Montpellier III

Help us preserve the monuments' memory

Family pictures, videos, records, share your documents to make the site live!

I contribute