The Yazidi mausoleums in Bozan

The main Yazidi mausoleums in Bozan are located at 36°43’59.6″N, 43°08’13.1″E and 532 metres altitude in the village cemetery.

Bozan, also known as Little Lalish (Lalişa Piçuk), is a very ancient village which is impossible to date but the 70 caves in the village testify to it being inhabited in very ancient times.

Bozan is home to numerous mausoleums, oratories and sacred stones. Most of these are found in amidst the tomb stones in the cemetery on a hill to the south-east of the village. The Bozan cemetery also serves 12 Yazidi villages in the surrounding area.

Beyond the cemetery there is another sizeable building in the village of Bozan, the mausoleum of Sheikh Chams, located next to one of the caves.

Elevation of the Yazidi mausoleum of Xeti Besi and Alû Bekir in the cemetery of Bozan © Dr. Birgül Açıkyıldız-Şengül, universities of Oxford and Montpellier III.
Monument map

About this file

The content of this file has been drafted by Dr. Birgül Açıkyıldız-Şengül, art historian, specialised in Yazidi heritage and culture. Dr. Birgül Açıkyıldız-Şengül is an associate researcher at the University Paul Valéry Montpellier III and the IFEA Istanbul, and is the author of a doctoral thesis: “Yazidi heritage: Funeral architecture and sculptures in Iraq, Turkey and Armenia” presented in 2006 at the University Paris I Panthéon-Sorbonne (department of Islamic art and archaeology). This thesis contains a documented inventory of 88 monuments (sanctuaries, mausoleums, baptistries, oratories, caravanserai, bridges and caves) and 60 funeral sculptures (in the shape of horses, rams, sheep or lions) in northern Iraq, Turkey and Armenia.  Thesis published by I.B.Tauris (London, New York), 2010.

The text has been enriched with the observations and interviews of the Mesopotamia team (Pascal Maguesyan, Shahad al Khouri, Sibylle Delaître (KTO)) with support from Mero Khudeada.

Location

Situated on the eastern bank of the Tigris, 16 km to the east of the Mosul dam, the Yazidi village of Bozan is set in the Nineveh plain, in the foothills of Kurdistan, 4 km to the east of the Christian city of Alqosh, 36 km to the west of the major Yazidi spiritual centre of Lalish, and 60 km to the north of the city of Mosul.

The main Yazidi mausoleums in Bozan are located at 36°43’59.6″N, 43°08’13.1″E and 532 metres altitude in the village cemetery, 700 metres to the south-east of the village.

The Yazidi village of Bozan.
June 2018 © Pascal Maguesyan / MESOPOTAMIA

About the Yazidi in Iraq

Mainly settled in the autonomous region of Iraqi Kurdistan and the Nineveh plain, their geographic birthplace, there are also Yazidi in Turkey, Syria, and the Caucasus in particular in Armenia and Georgia. Generally considered as non-Islamic Kurds, which is at the very a least a simplistic if not inaccurate statement given their mythological origins, often demonised due to their religious practices, the Yazidi are a community whose historical origins and number are difficult to estimate.

Marginalized to the extreme in Iraq under various regimes, their existence was practically denied. Prior to 2003, Baghdad officially only recognised a few thousand whereas the reality was no doubt closer to hundreds of thousands.

The conditions for an attempted genocide were already in place even before the ISIS jihadis started to massacre and kidnap Yazidi in the Sinjar mountains and province of Nineveh in August 2014.

Although the Iraqi forces and the coalition of resistance groups took back Sinjar in November 2015, the majority of the 500,000 – 600,000 Iraqi Yazidi are still displaced. The persecution they have suffered makes them fear for the future despite the constitutional guarantees afforded to them in 2005.

Map of the Yazidi regions, cities and villages in the north and Iraqi Kurdistan
© Dr. Birgül Açikyildiz-Şengül, universities of Oxford and Montpellier III

The territorial roots of Yazidism

Yazidism was founded in a mountainous territory where its inhabitants were protected by the slopes, peaks and caves. Considered sacred by the Yazidi, this territory roughly divides into two distinct regions, east and west of the Tigris, the key Mesopotamian river. To the west is Sinjar: the city, surrounding villages and the mountain range. To the east is the spiritual centre of Lalish, and the key sectors of Shekhan, Bozan, Bashiqa and Bahzani. The vast majority of the Yazidi population (including clergy) are from these regions although there are some scattered Yazidi communities outside of these areas.

For centuries, the Yazidi have preserved their customs and traditions in this region, this territory. This preservation of the past was cruelly undermined to the west of the Tigris in the Sinjar region by the devastating ISIS offensive in August 2014. The extent of the destruction and severity of the genocidal crimes committed severely weakened the Yazidi communities in the Sinjar mountains who previously formed the core of the Iraqi Yazidi population.

Two Yazidi mausoleums in the heart of the village of Bozan.
June 2018 © Pascal Maguesyan / MESOPOTAMIA
Yazidi mausoleum in the heart of the village of Bozan.
June 2018 © Pascal Maguesyan / MESOPOTAMIA

Territory, history and heritage

It is in this region, either side of the Tigris, that the Yazidi were able to preserve and develop the characteristic architectural features of their religious buildings which are the main places of worship for the Yazidi faithful.

These buildings are mostly dedicated to the first disciples of the 12th century Yazidi reformer, Sheikh ‘Adî, members of the Chamsani families and families such as Hasan Maman, Memê Rech and Cerwan, as well as the community’s first religious leaders, descendents of Sheikh ‘Adî (members of the Adani family) and certain important Sufi mystics who influenced Sheikh ‘Adî’s teachings, namely Abd al-Qadîr al-Jilani, al-Hallaj et Qedib al-Ban (Qadî Bilban).

However, it would be wrong to conclude that Yazidism is a medieval religion. The paucity of the theological and historical sources available is compensated for by the ancient tradition and mythology which are omnipresent and constantly developing. The Yazidi consider Noah to be one of their most ancient and most illustrious patriarchs. They even claim that he lived in Iraqi Mesopotamia, in Ain Sifni (Shekhan) where he built his ark. The Yazidi historians claim that “the Yazidi religion is very ancient. It goes back to 3,500 years BC.”[1]

The Yazidi have a wide diversity of places of worship and prayer, including cemeteries, mausoleums (mazar) some of which are larger than others (khas / mêr), fire oratories (nîshan), the houses of Sheikhor Pîr, trees, bushes, olive groves, bridges, arches, caves, sacred stones (kevir), springs etc. These monuments, structure and sites dedicated to the Yazidi “saints” constitute a large proportion of the cultural setting of the Yazidi communities and are the tangible, physical manifestation of the Yazidi belief system as a whole.

There is however, one fundamental place which all Yazidi turn to, including the diaspora: the Lalish valley in Iraqi Kurdistan. It is the most sacred place in Yazidism. It is the location of the sanctuary of Sheikh ‘Adî, the great reformer of Yazidism in the 12th century.  This valley, its mausoleums and its environment are the centre of gravity of Yazidi spiritual life.

The Yazidi buildings were built at different times. The lack of inscriptions and historical sources make it difficult to date them accurately. The poor quality of some of the more recent restorations makes this analysis even more complex. Furthermore, there do not seem to be specific architectural styles associated with specific periods of Yazidi history which could help to date these buildings. In addition, the same style, derived from a specific model has been used at several times over the centuries and is still in vogue.

_______

[1] Chamo Kassem, inspector of Yazidi schools, specialist in Yazidi religion and culture, Head of Culture and Media, at the Lalish Cultural and Social Centre in Dohuk-Nohadra.

Yazidi mausoleum in the cemetery of Bozan.
June 2018 © Pascal Maguesyan / MESOPOTAMIA
Yazidi tombs in the cemetery of Bozan.
June 2018 © Pascal Maguesyan / MESOPOTAMIA
Small Yazidi mausoleum in the cemetery of Bozan.
June 2018 © Pascal Maguesyan / MESOPOTAMIA
Yazidi tombs in the cemetery of Bozan.
June 2018 © Pascal Maguesyan / MESOPOTAMIA

Fragments of Yazidi spirituality and theology

Yazidism is a religion based on tradition and oral history that is both simple and complex at the same time. Simple, because it is not regulated by a constraining liturgy or dogma. Complex, because there is no fundamental theological document underpinning it such as the Torah, the Gospels or the Koran. The Yazidi have two sacred books: the book of revelation “Kitêb-i Cilvê “, and the black book “Mishefa Reş”.

Yazidism is a strictly community-based religion (national). One is born Yazidi, you cannot become Yazidi. There is no evangelizing, inculturation or proselytizing.  That said, Yazidism is not sectarian. Quite the opposite, altruism is considered to be a cardinal virtue, a spiritual and theological foundation. Any researchers interested in studying Yazidism are therefore warmly welcomed by the community and its clergy.[1]

Yazidism is a monotheism. God is singular and unique. He is the creator of the cosmos and of life.  In this, Yazidism shares the same belief as the three main monotheist religions: Judaism, Christianity and Islam.  As well as Zoroastrianism.[2]

God is light. He is like the sun which shines on the Earth. That is why the Yazidi systematically face the sun to pray. This is something Yazidism shares with Mesopotamian and Persian Zoroastrianism.

God is good, infinitely good. This is why the Yazidi encourage altruism and always pray firstly for the world and then for themselves.

God is everything and is everywhere. Yazidism is physically and spiritually one with the whole of Creation: cosmic, human, animal, vegetal, and mineral. That is why olive trees whose oil is used for the sacred fire are considered sacred by the Yazidi. Similarly, the angel peacock (tawûsê melek) is the most important of the seven angels (melek) which represent God on earth.

Yazidism believes in the judgement of souls and the last judgement. However, it differs from Christianity in its belief in reincarnation. The dead are buried. Their souls are judged according to the good and evil they have done. Pure souls become beings of light. Impure souls are reincarnated in devalued or bellicose human or animal forms.

_________

[1] « Jean-Paul Roux, who passed away in 2009, former CNRS researcher and head of the Islamic art section of the École du Louvre, considered Yazidism as “a standout religion, an obvious syncretism of popular tradition and reminiscences of the dogma of the major religions’’. La Croix, Claire Lesegretain, 26 April 2010.

[2]Born in Persia, founded by Zarathustra (Zoroaster) in the first millenium Before Christ, Zoroastrianism is monotheist and recognises Ahura Mazdâ as the only God. In this sense Zoroastrianism is fundamentally different from the Mazdaism it is derived from. Mazdaism  is polytheist, considering Ahura Mazdâ as the main, but not the only, God.  This Persian religion spread as far as India in the form of Vedism.

The sun, light of God, to which all Yazidi pray.
June 2018 © Pascal Maguesyan / MESOPOTAMIA
Representatives of the Yazidi community in Bozan.
June 2018 © Pascal Maguesyan / MESOPOTAMIA
Yazidi child in Bozan wearing traditional decorative and protective ornaments.
June 2018 © Pascal Maguesyan / MESOPOTAMIA

Yazidi worship

Yazidi worship is not governed by a strict liturgy but constitutes a set of traditional rites and votive practices passed on orally from generation to generation.

The Yazidi generally pray individually, but also gather together as a community at their temples and sanctuaries to listen to qawals, who are both musicians and the gatekeepers and guardians of the Yazidi religion, whose knowledge and practices are passed on from father to son.

The daily prayer, facing the sun, the light of God (Khoda), is not an obligation nor is it required to show you are a “good” Yazidi. However, pious, elderly people pray regularly, up to five times a day.

Kissing sacred places and the hands of saintly figures, offering gifts to consecrated persons, sacrificing animals, knotting and unknotting fabric on wish trees, are all signs of respect and devotion.

Wednesday is the most important day in the week. It is like Sunday for Christians, Saturday for Jews and Friday for Muslims. The main weekly services during which the Yazidi monks light the sacred fire in the mausoleums are held on Wednesdays.

Four major annual festivals are held during the Yazidi religious year. The first is the New Year (ser sal) celebrated on the first Wednesday of the month of April. This festival symbolises the creation of life out of the initial chaos and the coming of tawûsê melek. Eggs, a symbol of the original lifeless earth, are boiled and dyed as part of the celebrations. Some of these eggs are smashed above the doors of houses and mausoleums, mixed in with small red flowers.

Another major annual festival is the Spring festival (towaf), which is held on a date between 12th – 20th April. Finally, the pilgrimage to the tomb of Sheikh Adî, in the Lalish sanctuary (djamaiya) takes place on 6th October.

Chamber with tomb (or cenotaph) in the Yazidi mausoleum of Ruale Keviniye in the Bozan cemetery.
June 2018 © Pascal Maguesyan / MESOPOTAMIA
Traditional Yazidi symbol (egg, sand and flowers) on the entrance door to the funeral chamber of the Yazidi mausoleum of Ruale Keviniye in the Bozan cemetery.
June 2018 © Pascal Maguesyan / MESOPOTAMIA

The mausoleum with a conical dome: characteristic Yazidi architecture

Mausoleums with a conical, striped dome are emblematic of Yazidi sacred art. Extremely sober in terms of its architecture and decoration, this type of building is built on a cube structure which contains the tomb or cenotaph, covered by a slab with a drum, above which stands a conical dome composed of multiple crests. This vault symbolises the sun’s rays which light up the earth and humanity.

The pinnacle of the dome is systematically fitted with a bronze spire formed of one or more spheres, mounted with a ring, a crescent moon, and a celestial body or hand, around which swathes of coloured fabric are knotted.  The spire represents the cosmos, the planets, the sun and the stars created by God.  The coloured fabrics represented the colours of the rainbow. [1]

The interior of a Yazidi mausoleum is often composed of a separate chamber containing a sarcophagus covered in silk fabrics. There are also often several niches carved into the walls to burn incense and light the sacred fire. These often also contain knotted fabrics placed there by pilgrims making wishes.

The sacred space in any Yazidi mausoleum includes the slab in front and around it. That is why any visitor or pilgrim must remove their shoes.

_______

[1]This interpretation can vary from one community to another.

Conical dome with hip roof characteristic of sacred Yazidi architecture.
June 2018 © Pascal Maguesyan / MESOPOTAMIA
Spire and fabrics characteristic of Yazidi sacred architecture in the village of Bozan.
June 2018 © Pascal Maguesyan / MESOPOTAMIA

The Yazidi village of Bozan

The Yazidi village of Bozan, 30 km west of the major Yazidi administrative and community hub of Shekhan is considered to be the first seat of Sheikh ‘Adî who lived here before Lalish became the centre of Yazidi spirituality.

Bozan, also known as Little Lalish (Lalişa Piçuk), is a very ancient village which is impossible to date but the 70 caves in the village testify to it being inhabited in very ancient times.

In June 2018, there were 1,000 families (5,000 people) living in Bozan. Before ISIS threatened to invade the village there were 6,000 people living in Bozan.  The village was evacuated as a preventive measure when the Islamic assailants came dangerously close on 6th August 2014. Yazidi fighters remained in Bozan but the worst was very narrowly avoided. One month later the villagers began to return home. [1]

There are also close to 300 Yazidi families displaced from Sinjar living in Bozan who are still unable to return to their homes.

The economic situation in Bozan is marked by the lack of paid employment.

_______

[1]Data collected by Mesopotamia’s representatives in Bozan, on 6th June 2018.

View of the Nineveh plain from the Yazidi village of Bozan.
June 2018 © Pascal Maguesyan / MESOPOTAMIA
The Yazidi village of Bozan viewed from the cemetery.
June 2018 © Pascal Maguesyan / MESOPOTAMIA
The Yazidi mausoleum of Sheikh Mand Pacha in the cemetery of Bozan.
© Dr. Birgül Açikyildiz-Şengül, universities of Oxford and Montpellier III.
Yazidi tombs in the cemetery of Bozan.
June 2018 © Pascal Maguesyan / MESOPOTAMIA
Yazidi tombs in the cemetery of Bozan.
June 2018 © Pascal Maguesyan / MESOPOTAMIA
The Bozan cemetery.
June 2018 © Pascal Maguesyan / MESOPOTAMIA

The Yazidi mausoleums in Bozan

Bozan is home to numerous major mausoleums (khas / mêr), fire oratories (nîşan) and sacred stones (kevir). [1]

These sacred places are mostly found in the Boza cemetery (Meret Bozan), located on a hill to the south-east of the village. The Bozan cemetery also serves 12 Yazidi villages in the surrounding area.  The mausoleums and oratories are found amongst the tombstones.

The Bozan cemetery notably contains the mausoleums of Alu Bekir, Sheikh ‘Adî, Sheikh Barakât, Sheikh Mand Pacha, Sheikh Nasral-Dîn, Sheikh Chams, Êzdîna Mîr, Nabadar, Pîr Alî & Pîr Buwal, Pîr Mand, Ruale Kevînîye, Xetî Besî, and the oratories of Sheikh Abû Bekir, Sheikh Sicadîn, Kure Buker and Xefire Rêye. These sacred buildings and structures are very modest stone structures.

Beyond the cemetery there is another sizeable building in the village of Bozan, the mausoleum of Sheikh Chams, located next to one of the caves.

There is also an ancient water cistern situated between the cemetery and the village which still collects water.

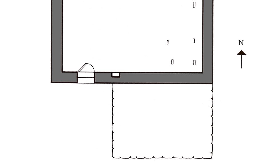
The mausoleum of Alû Bekir. This mausoleum is situated in the Bozan cemetery, alongside the mausoleum of Xetî Besî to the north.  There is no information on the character of Sheikh Alû Bekir. However, when the singers (Qawals) pronounce the words “Ya Cheikh ‘Adî, ya Alû Bekir”, this indicates their prayer is finished. It is possible that Alû Bekir is a contemporary of Sheikh ‘Adî as his name is pronounced in the same tone. According to the tradition, visiting the mausoleum of Alû Bekir helps fight against mouth diseases.

To our eyes, its rectangular floor plan with barrel vault is characteristic of the 12th century Adawite period. Furthermore, the building adjoins the mausoleum of Xetî Besî which dates from the 12thcentury. There is also a large niche in the south wall which might indicate the direction towards Mecca. All these factors lead us to believe that the building was founded in the 12th century. It has a rectangular layout oriented from east to west and measures 5.0 x 2.10 metres. It has a barrel vault. The exterior of the roof is flat. A rectangular door in the west wall provides access to the interior. There is a rectangular niche in the southern wall where wicks are burned. The floor is not tiled. There are two tombstones, oriented from north to south. The stonework is composed of roughly-hewn rubble stones.

 The mausoleum of Sheikh Adî. This mausoleum is located in the Bozan cemetery next to the mausoleum of Sheikh Mand Pacha. According to historical sources, Sheikh ‘Adî, the 12th century reformer of Yazidism, died in 1162 and was buried in Lalish. Although the Yazidi tend to build several mausoleums dedicated to the same person, we believe that Sheikh ‘Adî is an exception. There is indeed one unique place, in Lalish, named after the Yazidi reformer. [2]

As for the Sheikh ‘Adî mausoleum in Bozan, local sources suggest that this is the nephew of the same name of the venerable Sheikh ‘Adî who was alive 90 years later, during the 13th century. The historical analysis identifies him as Sheikh ‘Adî II, ‘Adî b. Abû ‘l Barakât,[3] executed by the Mongols in 1221. [4]

The mausoleum’s plan and construction technique present specificities coherent with the 12th and 13thcenturies. We believe this was originally a vaulted mausoleum. We date its construction to the 13thcentury.

The mausoleum is rectangular, its dimensions are 6.3 x 3.65 metres. It can be accessed via a rectangular door in the southern wall of the western corner. We do not know what shape the roof was originally but it would appear to be vaulted. The current ceiling is made of concrete and is flat. There is a niche in the north wall and another in the south wall next to the door. There are three tombstones oriented from east to west. There are no paving slabs or tiles inside. It was built from roughly-hewn stones. The stones were reinforced with concrete during the restoration work.

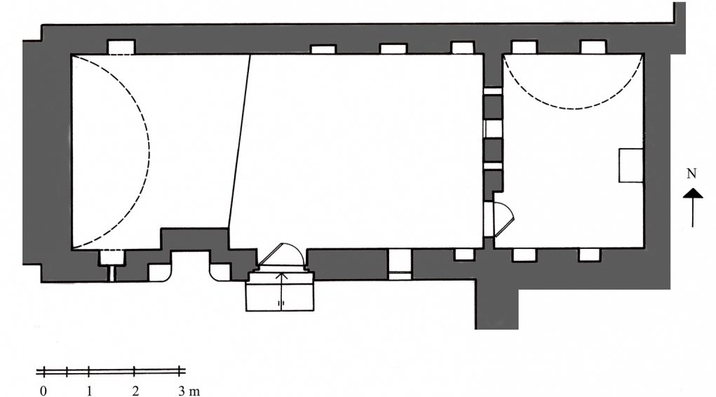
The mausoleum of Sheikh Chams. This mausoleum is found in the centre of the village of Bozan. It is accessed via the courtyard of a large house. There is a cave below the west wing of the mausoleum. The entrance to the cave runs alongside the mausoleum of Sheikh Chams.

Sheikh Chams is one of the most popular Yazidi saints. He is associated with one of the seven Yazidi angels and is considered to be the divinity of the sun and the sun of the Yazidi faith. His real name is Shamsal-Dîn. He is said to have lived in the 7th century in Lalish, where he met Sheikh ‘Adî. The two leaders both influenced Yazidi teachings. He was the patriarch of the Chamsani family, the genitor of a long line of Sheikhs in the Yazidi hierarchy.

In addition to this building, four other mausoleums are dedicated to the same saint in different Yazidi villages such as Bahzani, Lalish, Mem Chivan, and Sinjar.

There is an inscription in Arabic above the door to the cave, but it is entirely indecipherable. It is difficult to date the building due to the lack of written sources, but it may date from the 12th century.

The exterior of the mausoleum is rectangular, oriented from east to west and formed of two parts: the main section and the antechamber. A rectangular door in the south wall provides access to the interior of the antechamber. Two steps lead up to the entrance. The antechamber is large. Its dimensions are 9.15 x 4.4 metres. It is also oriented east to west and has a barrel vault. The floor of the antechamber is on two levels due to the ceiling of the cave on the west wing. The floor to the west is around one metre higher than to the east and is entirely tiled. There are four low niches in the north wall and another in the south wall. There is a large window and a machicolation in the south wall. Furthermore, several small windows in the vault light the interior.

The main section is found to the east of the antechamber. It can be accessed via a rectangular door in the east wall close to the south wall. The room is rectangular, oriented north to south and measures 4.4 x 3.10 metres. It is mounted with a barrel vault. The west wall has three windows. There are two deep, low, arched niches in the north wall and two others in the south wall. Candle wicks are burned in every possible nook and cranny: in the niches, the corners of the walls and on the rectangular platform that backs onto the east wall, as well as on the walls. There are traces of black smoke everywhere. Multicoloured fabrics hang from the windows in the west wall. The interior is dark throughout. There is a small symbolic conical dome on the roof above the main section, a nod towards the building’s status as a mausoleum. We believe it was added recently. It is composed of 16 sections.

The building is coated inside with gypsum mortar, the south facade is covered in cut stones. The external facades on the other three sides are not visible as the mausoleum is surrounded by houses. However, we can assume they are built of stone like the rest of the building in Bozan.

 The mausoleum of Sheikh Mand Pacha. This mausoleum is found next to the mausoleum of Sheikh ‘Adî in the cemetery of the village of Bozan. Sheikh Mand Pacha is part of the eponymous subdivision of the Sheikhs of Chamsanî. He is the son of Sheikh Fakhral-Dîn and brother to Xatûna Feqra. He is believed to have power over snakes. His mausoleum is therefore believed to be effective against snake bites. Sheikh Mand Pacha is thus known as the Sheikh of snakes.

We believe he lived in the 14th century and his mausoleum is also thought to date from this time. According to Sharaf Khan Bidlisî, Sheikh Mand was one of the Kurdish emirs from Antioch and Aleppo in Syria, in service to the Ayyoubide dynasty. Yazidi tradition relates that Sheikh Mand resolved the internal problems of the Yazidi when he was in power in Syria in the 13th century.

The building has a rectangular floor plan measuring 3.3 x 2.7 metres. The walls are on average 0.7 metres thick. A door mounted with a semi-circular arch in the wall which leads to the interior. The building has a barrel vault, but a flat roof outside. There are two small openings in the south and north walls which allow light and air into the building. The exterior is much more carefully finished than the interior.

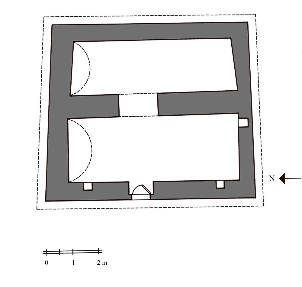
The Pîr Alî & Pîr Buwal mausoleum. It is located in the Bozan cemetery. The origins of its name are found in the two niches located in the west wall. The niche to the north is named after Pîr Alî and the niche to the south after Pîr Buwal. We have no information about Pîr Alî, but according to Kreyenbroek, Pîr Buwal was a member of the family of Mehmed Reshan and is thought to have lived in the 12th century. We do not know if these two religious figures were buried in this mausoleum. There are two inscriptions on the entrance facade. One is entirely illegible. In the second, we can make out “… renovated in 1949… “. However, the comparison with other buildings in the region of Shekhan dates the building to the 12th century.

The mausoleum forms an irregular rectangle. The exterior measures 8 x 6.85 metres. The interior is accessed via a door with a semi-circular arch in the west wall. The interior is formed of two rectangular sections, oriented from north to south, connected with a semi-circular arch. The dimensions of the west section are 6.70 x 2.55 metres. The eastern section measures 6.40 x 2.05 metres. Both sections have barrel vaults and no paving. The west wall of the first section has two niches. There is another niche in the eastern part of the south wall. These are small square niches.

The mausoleum of Ruale Kevînîye. This mausoleum is found next to the mausoleum of Mand Pacha in the cemetery of the village of Bozan. There are no inscriptions attesting to its foundation. We have no information about the character of Ruale Kevînîye. There are however two rectangular stones placed in the corners of the iwan to the west are named after Sheikh Amâdîn and Sheikh Babadîn, respectively. This leads us to suppose that that sheikh in question is a member of the Chamsanî family. As a point of comparison, we have four Yazidi mausoleums dating from the 14th century. The rectangular floor plan with an antechamber is used in the mausoleums of Sheikh Muchelleh Sheikh Nasral-Dîn and Xatûna Feqra in Lalish as well as the mausoleum of Sheikh Amâdîn in Sinjar. We therefore suggest dating this mausoleum to the 14th century.

The mausoleum is formed of two parts: the main part to the east and the iwan antechamber to the west.  The antechamber measures 4.3 by 3.0 metres. It is covered with a ribbed vault. There are two rectangular stones in the corners of the iwan to the west where wicks are burned during services. The stone located to the north is named after Sheikh Amâdîn and the one to the south after Sheikh Babadîn.

The main part is where the sarcophagus is located, oriented east to west and covered in multicoloured prayer fabrics. The dimensions of the vault are 3 x 1.85 metres. It is a barrel-vaulted chamber in the interior.  The exterior roof is flat. The north and south walls each have two small, elevated windows and there is another window in the centre of the eastern wall.

The floors are entirely covered in stone tiles. There are a number of bas relief symbols in the building. On some of the rectangular flooring stones, one can make out patterns forming suns or daggers.

A shelter has been built in front of this building which has no sacred purpose but protects visitors and pilgrims from the sun and provides a place for them to gather.

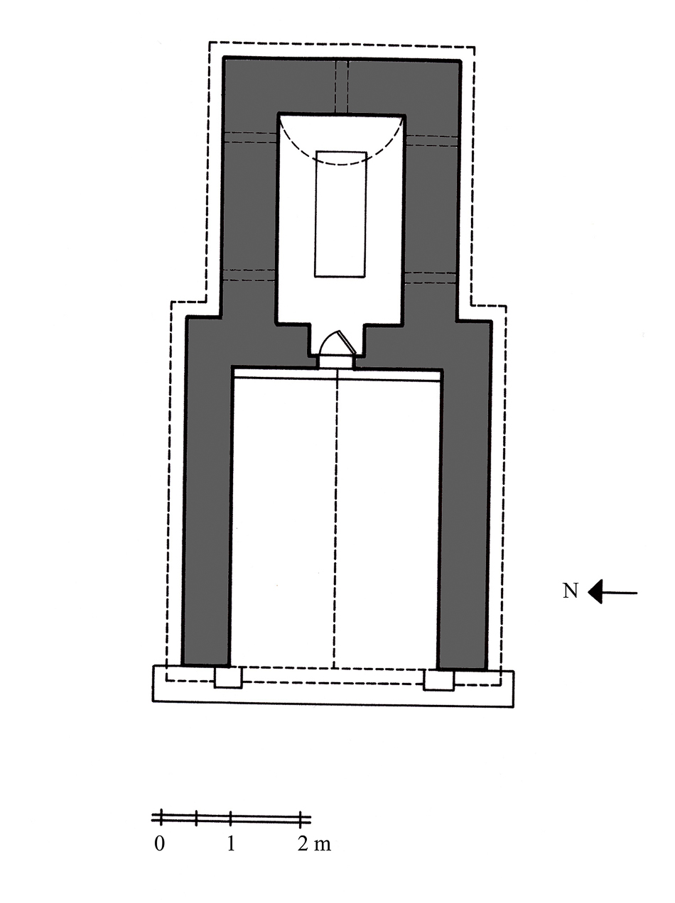
The mausoleum of Xetî Besî. This mausoleum is attached to the mausoleum of Alû Bekir in the cemetery in Bozan. Xetî Besî is the name given to a subdivision of Hasan Maman’s Pîrs who are thought to have lived in the 12th century.

To our eyes, the rectangular layout with a barrel vault is a specificity of Bozan and Lalish in the Shekhan region, which was widespread in the 12th and 13th centuries. This type of double rectangle layout is also found in the mausoleums of Pîr Alî & Pîr Buwal (12th century).

The mausoleum in question has a rectangular floor plan, oriented north to south and which measures 9.0 x 5.75 metres. It is formed of two rectangular space oriented from east to west, barrel vaulted, with one small dome standing out from the vault to the north. It is accessed via a low, rectangular door with curved corners on the north wing.

The first space measures 4.2 x 2.6 metres. The dimensions of the second space are 4.2 by 1.75 metres. A pointed arch connects the two spaces. A tombstone oriented from east to west is located in the second space. The latter contains a niche embedded in the south wall. The whole of the niche is framed by a rectangular band. There is a platform against the south wall opposite the pointed arch opening.

________

[1]The head of the Yazidi Vakeuf in Bozan and the surrounding villages claims there are 360 sacred places in Bozan! This figure is often used in Yazidi accounts.

[2] Ibn Khallikan and Ibn al-Athir

[3] He is known for his usurpation of the Mar-Youhanan and Icho’ Sabran monastery.

[4]According to Barakat Kheuder Qassem, Yazidi Sheikh in Bozan, interviewed on 6th June 2018.

Plan of the Yazidi mausoleum of Xeti Besi and Alû Bekir in the cemetery of Bozan.
© Dr. Birgül Açikyildiz-Şengül, universities of Oxford and Montpellier III
Elevation of the Yazidi mausoleum of Xeti Besi and Alû Bekir in the cemetery of Bozan.
© Dr. Birgül Açikyildiz-Şengül, universities of Oxford and Montpellier III
The Yazidi mausoleum of Xeti Besi and Alû Bekir, shepherd and sheep in the cemetery of Bozan.
© Dr. Birgül Açikyildiz-Şengül, universities of Oxford and Montpellier III
The Yazidi mausoleum of Xeti Besi and Alû Bekir, in the cemetery of Bozan.
© Dr. Birgül Açikyildiz-Şengül, universities of Oxford and Montpellier III
Plan of the Yazidi mausoleum of Sheikh Adi in the cemetery of Bozan.
© Dr. Birgül Açikyildiz-Şengül, universities of Oxford and Montpellier III
The Yazidi mausoleum of Sheikh Adi in the cemetery of Bozan.
June 2018 © Pascal Maguesyan / MESOPOTAMIA
Plan of the Yazidi mausoleum of Sheikh Shams in the cemetery of Bozan
© Dr. Birgül Açikyildiz-Şengül, universities of Oxford and Montpellier III
Entrance to the Yazidi mausoleum of Sheikh Shams in the cemetery of Bozan.
© Dr. Birgül Açikyildiz-Şengül, universities of Oxford and Montpellier III
Interior of the Yazidi mausoleum of Sheikh Shams in the cemetery of Bozan.
© Dr. Birgül Açikyildiz-Şengül, universities of Oxford and Montpellier III
Plan of the Yazidi mausoleum of Pîr Alî and Pîr Buwal in the cemetery of Bozan.
© Dr. Birgül Açikyildiz-Şengül, universities of Oxford and Montpellier III
The Yazidi mausoleum of Pîr Alî and Pîr Buwal in the cemetery of Bozan.
© Dr. Birgül Açikyildiz-Şengül, universities of Oxford and Montpellier III
Plan of the Yazidi mausoleum of Ruale Keviniye in the cemetery of Bozan.
© Dr. Birgül Açikyildiz-Şengül, universities of Oxford and Montpellier III
The Yazidi mausoleum of Ruale Keviniye in the cemetery of Bozan.
© Dr. Birgül Açikyildiz-Şengül, universities of Oxford and Montpellier III
The Yazidi mausoleum of Ruale Keviniye in the cemetery of Bozan.
June 2018 © Pascal Maguesyan / MESOPOTAMIA
Niche for the sacred fire at the entrance to the Yazidi mausoleum of Ruale Keviniye in the cemetery of Bozan.
June 2018 © Pascal Maguesyan / MESOPOTAMIA
Sculpted tile floor in the iwan of the Yazidi mausoleum of Ruale Keviniye in the cemetery of Bozan.
June 2018 © Pascal Maguesyan / MESOPOTAMIA

Help us preserve the monuments' memory

Family pictures, videos, records, share your documents to make the site live!

I contribute